
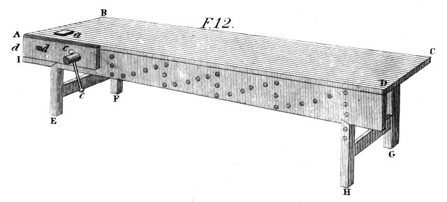
Nicholson’s workbench, from Plate 12 in “Mechanic’s Companion.”
We know the English knew about the holdfast by the early 1800s; Joseph Moxon shows it in “Mechanic Exercises” in 1683. Yet Peter Nicholson (who trained briefly as a joiner) neither shows nor mentions it in his 1812 book “Mechanical Exercises” (later titled “The Mechanic’s Companion”).
For workholding, Nicholson offers only a “bench hook” (we call it a planing stop), a “bench screw” (face vise) and a series of holes in the front board and leg “so as to admit of a pin for holding up the other end [of a long board], at various heights, as occasion may require” (p. 88).
“The bench hook is sometimes covered with an iron plate, the front edge of which is formed into sharp teeth for sticking fast into the end of the wood to be planed, in order to prevent it from slipping; or, instead of a plate, nails are driven obliquely through the edge, and filed into wedge-formed points” (p. 89).
So while the “bench hook” bites into the wood a bit at one point, there’s no holdfast to help keep things in place from the other end. Nicholson’s approach does work, but it requires skill and practice to keep a wide board balanced against a stop as you plane. I’ve tried it a number of times, but can successfully and reliably use this approach only with narrow stock – thick stock inevitably goes spinning off the stop if I can’t get my plane stroke directly toward it. I’d feel bad about myself…except that Christopher Schwarz and Adam Cherubini (click that link – he’s back!) have experimented at some length with finding the proper angle of attack with the plane to make it work – and they also find other approaches to be more effective.

Moxon’s workbench, from Plate 4 in “Mechanick Exercises” – note the holdfast (d) on top of the bench. (Image from “The Art of Joinery” (Lost Art Press)).
So either Nicholson missed discussing some common mechanism, or the English were (are?) simply better at this approach. I’m eager to find out in a few months from the guys at “Mortise & Tenon” what they think – they just finished building one almost to the plan.
Me? I’ll stick with my holdfast coupled with a “doe’s foot.” Luckily, it’s easy to bore holes as needed. (Although, if using thin stock as in the Nicholson, it’s best to do so on the “transverse bearers” – more on those and construction thoughts in general in a future post.)

Christopher Schwarz’s adaptation of Nicholson’s bench…with holdfasts. (And angled legs, square dog holes, a leg vise instead of a face vise, plus a wagon vise at the right end.)
But, as exhibited in Christopher’s 2006 bench above, it’s easy to adjust this simple English workbench to fit your bench theories and workholding needs – and you can do it mostly with home center stock.
A bench knife will sort all your problems out. Just ask Walter Rose!
Woodwork at school in England, in the 1960s, required planing against a stop with no additional workholding. I couldn’t master it then, and only succeed now because I built a bench with a shoulder vice on the end. This holds a wide board as a planing stop that can be adjusted easily up or down. Now the work doesn’t pivot around the stop as it used to do for me.